Sony Patenkan Teknologi AI yang Bisa Mainkan Game Pengguna
Sony mematenkan Teknologi AI Ghost Player yang mampu memandu hingga menamatkan game pengguna melalui sistem kecerdasan buatan.
Daftar Isi
Perkembangan Sony dalam menghadirkan inovasi di industri game kembali menjadi sorotan setelah perusahaan tersebut mematenkan Teknologi AI terbaru. Teknologi ini dirancang untuk memainkan game milik pengguna melalui sistem kecerdasan buatan, sehingga membuka kemungkinan baru dalam cara pemain menikmati game. Inovasi Sony ini menimbulkan diskusi luas terkait masa depan Teknologi AI dalam dunia hiburan interaktif.
Inovasi Teknologi AI Sony untuk Bermain Game
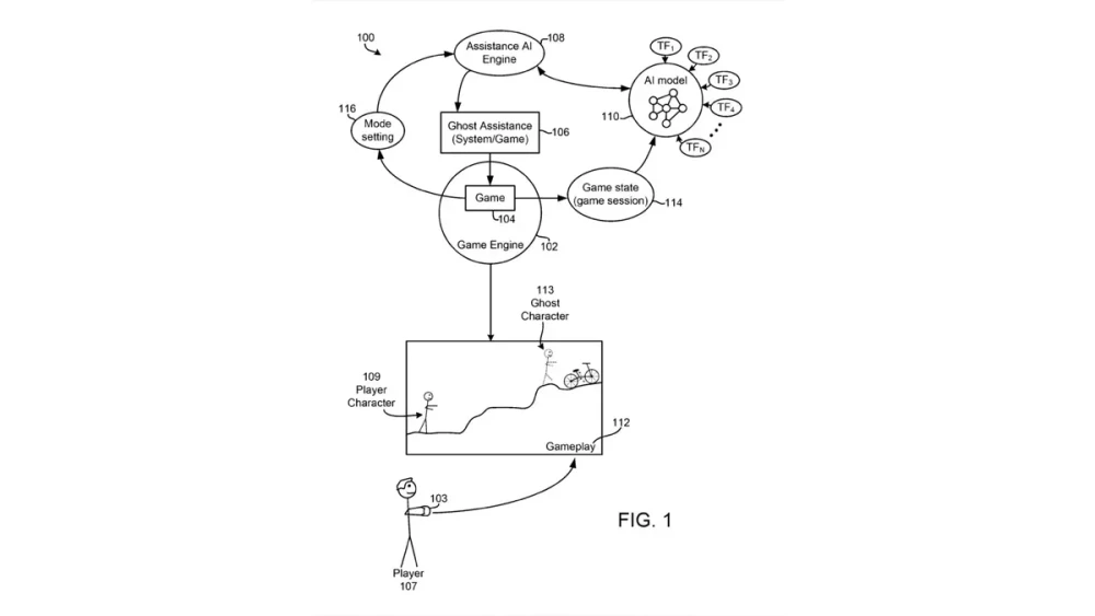
Langkah Sony dalam mengembangkan Teknologi AI bukanlah hal baru, karena sebelumnya perusahaan ini telah mematenkan berbagai sistem pendukung permainan, mulai dari NPC cerdas hingga fitur analisis reaksi pemain. Dalam paten terbarunya, Sony memperkenalkan sistem yang memungkinkan Teknologi AI mengambil alih peran pemain secara langsung dalam sebuah game. Teknologi ini dirancang untuk membantu pengguna ketika mengalami kesulitan atau kebingungan saat bermain.


Teknologi yang dipatenkan ini dikenal dengan nama Ghost Player, sebuah konsep Teknologi AI yang memungkinkan game milik pengguna dijalankan oleh pemain virtual. Dengan pendekatan ini, Sony ingin memberikan solusi bagi pemain yang terhambat dalam menyelesaikan tantangan tertentu, tanpa harus sepenuhnya meninggalkan pengalaman bermain mereka.
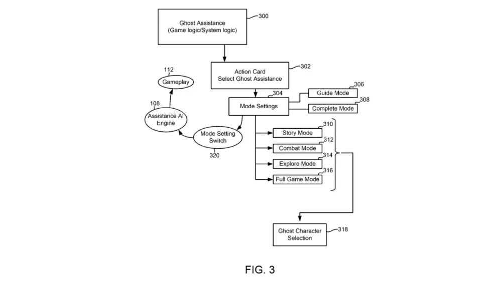
Teknologi AI Ghost Player dan Dua Mode Permainan
Berdasarkan laporan dari VGC, Sony menyebut bahwa Teknologi AI Ghost Player akan hadir dengan dua mode berbeda yang disesuaikan dengan kebutuhan pemain. Mode pertama adalah Guide Mode, di mana pemain akan diperlihatkan cara menyelesaikan suatu level melalui karakter AI. Mode ini berfungsi layaknya panduan interaktif, namun dijalankan langsung di dalam game oleh Teknologi AI milik Sony.

Sementara itu, mode kedua adalah Complete Mode, sebuah fitur yang memungkinkan karakter AI menuntaskan seluruh permainan untuk pengguna. Dalam mode ini, Teknologi AI akan sepenuhnya mengambil alih kendali game, sehingga pengguna dapat menyaksikan bagaimana permainan diselesaikan tanpa harus memainkannya sendiri. Fitur ini mempertegas ambisi Sony dalam mengembangkan Teknologi AI yang adaptif dan fungsional.
Pelatihan Teknologi AI dari Rekaman Gameplay
Menariknya, Sony menjelaskan bahwa Teknologi AI Ghost Player ini dilatih menggunakan rekaman video gameplay yang telah tersedia di internet. Dengan metode ini, Sony tidak mengharuskan pengembang game untuk merekam karakter khusus demi menjalankan teknologi tersebut. Pendekatan ini membuat Teknologi AI menjadi lebih fleksibel dan mudah diterapkan pada berbagai judul game.
Meski Sony telah memiliki berbagai fitur bantuan seperti hint dan video walkthrough, paten Teknologi AI Ghost Player menunjukkan pendekatan yang lebih langsung dalam membantu pemain. Namun demikian, teknologi ini masih sebatas paten dan belum tentu akan dirilis secara komersial. Kendati demikian, langkah Sony ini memberikan gambaran jelas mengenai potensi Teknologi AI dalam mempermudah pengalaman bermain game di masa depan.
Rekomendasi
Qureate Ungkap Risiko Karakter Dada Kecil Bisa Diblokir Platform
11 minutes ago
Epic Games Perkenalkan Unreal Engine 6 Resmi di Game Rocket League
17 minutes ago
Pendanaan Star Citizen Tembus Rp17 Triliun Tapi Kok Masih Tahap Alpha?
22 minutes ago
Forza Horizon 6 Terjual 5 Juta Kopi, Raup Rp5,7 Triliun Dalam Sepekan
28 minutes ago
Komentar
0 komentar di artikel ini
Komentar memakai akun Mokultur agar moderasi dan identitas komunitas tetap rapi.